Motors Mechanics Power and CNC Circuit Diagram This example covers a hypothetical and uses the principles of high-power design to improve a high-power motor driver application. Note, this example serves to show that how the process is utilized and rest of the application note explains the theory that eventually results in the process used. Consider the following example:

A switching regulator has higher efficiency and less power loss, and PWM is widely used in speed controller design for DC motors. Motor Power. Motor power relies on the current supplied by the power source. Thus, a low-power BDC motor needs a low current controller and vice versa. A high current DC motor controller typically uses a switching A contactor is a large relay, usually used to switch current to an electric motor or another high-power load.; Large electric motors can be protected from overcurrent damage through the use of overload heaters and overload contacts.If the series-connected heaters get too hot from excessive current, the normally-closed overload contact will open, de-energizing the contactor sending power to the

Applied Industrial Electricity Circuit Diagram
Design#2: PWM DC Motor Control with IC 555. The design of a simple motor speed controller using PWM may be understood as follows: Initially when the circuit is powered, the trigger pin is in a logic low position since the capacitor C1 is not charged. The above conditions initiates the oscillation cycle, making the output change to a logic high. EMC design guides for motor control applications Alessio Corsaro, Carmelo Parisi and Craig Rotay Introduction . In recent years, continuous demand for efficient, compact and low cost applications in the motor control industry has led to a boom in inverter-based solutions driven by MCUs. These applications involve high

In this guide, we will explore different types of motor control circuits, including their wiring diagrams and key advantages and disadvantages. Types of Motor Control Circuits. Direct Online (DOL) Starter; รผ Simple and cost-effective. รผ High starting current, leading to voltage drops. รผ Suitable for smaller motors The goal of this project is to design a high-power motor driver that can: 1. Drive a DC motor with a high current rating (up to 40A). 2. Allow control over motor speed and direction. 3. Be used in various high-power applications such as robotics, electric vehicles, or heavy machinery. 4.

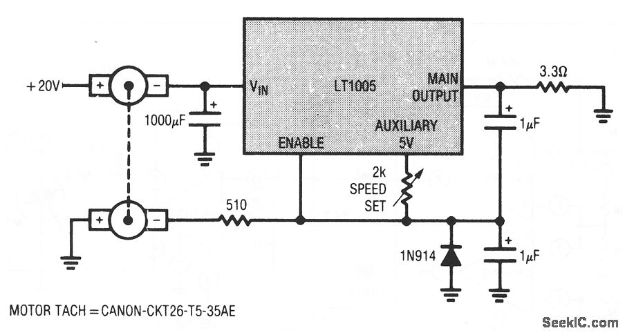
DC Motor Controller: Design Principles & Circuit Examples Circuit Diagram
In addition to power semiconductors and feedback control loops, motor control circuit design also involves the use of filters, snubbers, and surge protectors. Filters are used to remove high-frequency noise from the power supply, while snubbers are used to suppress voltage spikes and reduce electromagnetic interference. Motor Structure + Design. Motors have a standard set of parameters that determine their performance, we design to these parameters, but they also have many considerations associated with them. Here are some. General selection of poles and slots in motor design. Power + Transmission Design MIT 2.75 - look @ the middle section about motors

after researching commercially available motor driver boards and finding that most were either kinda wimpy(see included comparison photo) or rather expensive i decided to design a simple Arduino based solution Design Brief . 24v minimum. bi-directional motor control. PWM control. scalable high current capable( 100AMP) minimal components. 5v